电动粉尘蝶阀
电动粉尘蝶阀专用水泥、粉尘、粉末等粉体介质的场合。

服务热线15370222117
通径规格:DN50~DN500
结构形式:垂直板式
阀体材料:压铸铝合金
连接方式:单法兰、双法兰
公称压力:PN10、PN16
适用温度:-15℃~100℃
应用范围:水泥、粉尘、粉末等粉体及颗粒状物料
公称通径(mm) | DN100-DN400 | |
压力(Mpa) | 0-0.2 | |
主要零件 | 阀体 | 压铸铝合金 |
阀板 | 碳钢内衬板,覆以耐磨高分子材料 | |
密封圈 | 丁晴橡胶(NBR) | |
适用介质 | 水泥、泥浆、粉体 | |
适用温度(℃) | -15~100 | |
1.单法兰蝶阀,带有顶部法兰及折边部件,适用于连接柔性套管。
2.双法兰蝶阀,顶部及底部为相同的法兰。
3.采用重力浇铸而成的阀体,比压铸的阀体强度更高。
4.旋转阀板采用高分子材料,耐磨损。
5.组件少,轻质,便于搬运。

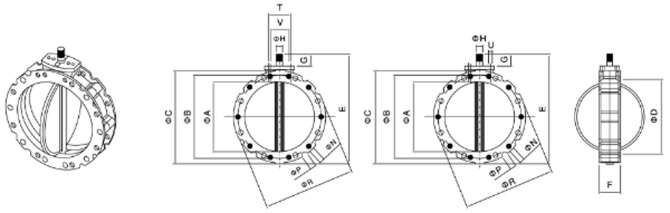
型号 | φA | φB | φC | φD | E | F | G | φH | φH孔径×数量 | φP外凹槽直径×数量 | φR | S | T | U | V | Z | KG |
BL1F100 | 95 | 180 | 220 | 105 | 250 | 115 | 35 | 22×19 | 14×4 | 20×4 | 220 | 40 | 80 | M12 | 50 | M10 | 4 |
BL1F150 | 150 | 200 | 228 | 163 | 290 | 115 | 35 | 22×19 | 14×4 | 20×4 | 228 | 40 | 80 | M12 | 50 | M10 | 5 |
BL1F200 | 200 | 250 | 278 | 213 | 340 | 115 | 35 | 22×19 | 14×4 | 20×4 | 278 | 40 | 80 | M12 | 50 | M10 | 6.5 |
BL1F250 | 250 | 300 | 328 | 263 | 390 | 115 | 35 | 22×19 | 14×8 | 20×8 | 328 | 40 | 80 | M12 | 50 | M10 | 7.5 |
BL1F300 | 300 | 350 | 378 | 313 | 440 | 115 | 35 | 22×19 | 14×8 | 20×16 | 378 | 40 | 80 | M12 | 50 | M10 | 9 |
BL1F350 | 350 | 400 | 440 | 363 | 530 | 123 | 50 | 28×25 | 14×8 | 20×8 | 440 | 40 | 80 | M12 | 50 | M10 | 16 |
BL1F400 | 400 | 470 | 530 | 413 | 580 | 123 | 50 | 28×25 | 14×8 | 20×16 | 530 | 40 | 80 | M12 | 50 | M10 | 20.5 |

型号 | φA | φB | φC | E | F | G | φH | φH孔径×数量 | φP外凹槽直径×数量 | φR | T | U | V | Z | KG |
BL2F100 | 95 | 180 | 220 | 250 | 77 | 35 | 22×19 | 14×4 | 20×4 | 220 | 80 | M12 | 50 | M10 | 4 |
BL1F150 | 150 | 200 | 228 | 290 | 77 | 35 | 22×19 | 14×4 | 20×4 | 228 | 80 | M12 | 50 | M10 | 5 |
BL2F200 | 200 | 250 | 278 | 340 | 77 | 35 | 22×19 | 14×4 | 20×4 | 278 | 80 | M12 | 50 | M10 | 6.5 |
BL2F250 | 250 | 300 | 328 | 390 | 115 | 35 | 22×19 | 14×8 | 20×8 | 328 | 80 | M12 | 50 | M10 | 7.5 |
BL1F300 | 300 | 350 | 378 | 440 | 115 | 77 | 22×19 | 14×8 | 20×16 | 378 | 80 | M12 | 50 | M10 | 9 |
BL2F350 | 350 | 400 | 440 | 530 | 85 | 50 | 28×25 | 14×8 | 20×8 | 440 | 80 | M12 | - | - | 16 |
BL2F400 | 400 | 470 | 530 | 580 | 85 | 50 | 28×25 | 14×8 | 20×16 | 530 | 80 | M12 | - | - | 20.5 |